この記事は「meyon's STUDY」に投稿した記事を Markdown 記法に移植したものです。ブログの原文ママですので、文章、用語などが雑なところはご容赦ください。
FM トランスミッタキット FW-8027M を組み立て、どんなふうに動いているのか探ってみます。
じつは、「elchika ハードウェアの開発者コミュニティ」に気まぐれにブログ記事の抜粋を書いたりしているのですが、まぁ吃驚、「elchika AWARD 2023」を受賞してしまいました。ありがとうございます。
賞品をいただけるというので、近頃ラジオ小僧な俺は「FM トランスミッタキット (FW-8027M)」をお願いしました。で、もちろん組み立てるだけで終わらせず、少しばかり仕組みを学んでみようと思います。
★ピックアップ
elchika | ハードウェアの開発者コミュニティ
https://elchika.com/
キットの組み立て
キットを組み立てましょう。
まずはパーツの確認です。抵抗のカラーコードって色あいのクセがあって、普段使っている抵抗と違って見えることがあります。わからなかったらテスターで測ってみましょう。
説明書に詳しく書かれているので、組み立ては難しくないです。
完成。
近い周波数にラジオ局がない 88.0MHz に設定して、パソコンから音楽を入力してみました。ポータブルラジオで、思ったよりきれいに受信できています。
電池が中古だったので電圧が足りてないです (下限 2.7V) が、表示もしっかり出て動作しています。新品に交換すると、お、さらに電波が強くなった感じ。
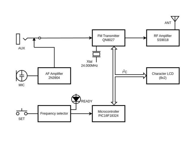
回路の概要
ブロックダイヤグラム
製品 Web では回路図は公開されていないので、ブロックダイヤグラムを書き起こしてみました。
FM トランスミッタ IC QN8027
トランスミッタ (送信機) というと、俺の古い頭は発振器、変調器、AF 増幅器、逓倍増幅器などと思い浮かべるわけですが、それらを全部まとめてデジタル化したのがトランスミッタ IC QN8027。DSP (Digital Signal Proccessing) というらしい。浦島太郎です。
QN8027 に AF 信号 (ステレオ) を入力すると 76~108MHz の FM 波が出力されます。RDS/RBDS (Radio Data System/Radio Broadcast Data System) 規格のデータ通信も可能らしいですが、日本では対応していない? 制御はマイクロコントローラから I2C 通信で行ないます。アドレスは 0x2C がデフォルトです。
マイクロコントローラ PIC16F18324
PIC16F18324 は 8 ビット 32MHz のマイクロコントローラです。プログラムメモリ 7KB、RAM 512KB、EEPROM 256KB。I/O は 12、A/D 11x10bit、D/A 1x5bit。PIC についてはよくわからないのですが、もしかして Arduino UNO のマイコンより高機能?
ちなみに、おなじみの I2C、SPI、UART などが接続できます。
キャラクタ液晶ディスプレイ (8×2)
品番が書かれていないので仕様がわかりません。が、一般的な 8 文字 2 行のキャラクタ液晶ディスプレイ (CLCD) かと思います。I2C で接続します。アドレスをネットで調べると 0x27、0x3F がでてきますが、8×2 では 0x3E という情報もありました。
CLCD の基本的な仕組みは、表示位置のレジスタにコードを入れてやると対応するキャラクタを表示する、ということです。
AF 増幅部 2N3904
内臓マイクの音声信号を増幅し QN8027 へ出力します。ライン入力 AUX はこの出力とスイッチ付きジャックで切り替えています。
2N3904 は定番の汎用 NPN トランジスタです。ちなみに日本で定番といえば 2SC1815 ですが、代替できるかというとちょっと特性が異なるようでうまくいかないこともあるようです。
RF 増幅器 SS9018
SS9018 は高周波用の汎用 NPN トランジスタ。トランスミッタ IC QN8027 の RF 出力を増幅します。パワーアップできそうだけど、やっちゃいけません。
各部の信号のようす
回路の各部の信号を、オシロスコープ RIGOL DS1000Z-E とネットワークアナライザ NanoVNA-H4 を使って観察してみます。
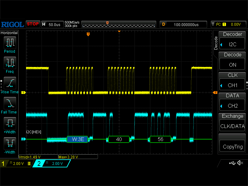
I2C 通信を見る
マイクロコントローラ PIC16F18324 と FM トランスミッタ IC QN8027、キャラクタ LCD 間は I2C 通信でつながれています。オシロスコープのトリガモードを I2C に設定すると、I2C 通信のコンディションやアドレスを指定してトリガすることができます。また、データをデコードするとビットの内容も表示できます。
I2C 通信については過去記事でも勉強しています。合わせてご覧ください。
関連記事
I2C / Arduino の出力波形を確認したらまともじゃなかった
meyon.gonna.jp
はじめに I2C のスタートコンディションでトリガして観察してみると、アドレス 0x3E への通信が行われていました。これが CLCD のアドレスのようです。
アドレス 0x3E でトリガし、デコードしてみましょう。
黄色の波形はクロック SCK です。スタートコンディションで始まり、3byte 分出力してストップコンディションになっています。クロック周期が 10μs なので、伝送速度は標準モードの 100KHz だとわかります。
青色はデータ SDA で、アドレス 0x3E (Write モード) に続いて 2byte のデータが送られています。データ内容は調べていませんが、この通信は常に行われていました。
なお、Read モードでの通信はありません。CLCD 自体が Write モードのみなのかもしれません。
トランスミッタ IC QN8027 との通信がみつけられませんでした。が、ふと思いついて SET ボタンを押してみるとアドレス 0x2C への通信がトリガされました。周波数選択で設定した値を SET ボタン押下時にだけ QN8027 に送っていたのです。
こちらもアドレス 0x2C (Write モード) と 2byte のデータを送っていますが、SET ボタン押下時に 3 回連続して通信し、都合 6byte のデータを送っていました。
QN8027 へも Write モードだけで、Read モードの通信は行われていないようです。設定周波数を書き込むだけなので、それで十分なのでしょう。
AF (低周波) 信号を見る
低周波回路のテスト用 1KHz 音源として、以下のサイトを利用させていただきました。ありがとうございます。
参考リンク
テストトーン(1kHz) - 無料効果音素材配信
esffects.net
パソコンから出力した 1KHz のテスト音源信号です。オシロスコープでの測定値は 980Hz でした。
ノイズが載ってますが、まぁ世の中ノイズだらけでこんなものです。なお、オシロスコープで 20MHz の帯域幅制限を設定しています。
パソコンからライン入力に接続しスイッチを入れると、FM トランスミッタが発するノイズでしょうか、火焔ナンチャラみたいな波形になります。まぁシールドも何もないですからね、こんなものなのでしょう。
信号電圧は 70mV です。QN8027 の AF 入力電圧は 350mV のようですが、これ以上レベルを上げるとポータブルラジオの受信音が歪んで聞こえました。
マイクからテスト信号を入力してみました。アベレージモードでノイズを低減していますが、ギザギザです。周波数が 1KHz になりましたね。
青色がマイクの出力で 7mV。一般にコンデンサマイクの出力は 10mV 以下だそうです。
黄色が AF 増幅部の出力で 70mV。したがって、電圧増幅率は 10 倍です。ちなみに、マイク感度調整ボリュームは 9 時の位置でした。ボリューム上げて試してみるの、忘れてました。
RF (高周波) 信号を見る
いわゆる RF 信号を測定するのはほぼ初めてです。わけわかんねぇことやってるかもしれませんが、嗤ってやってくださいませ。
NanoVNA プローブを作る
プリント基板上での測定のために、簡単なプローブを作ってみました。同軸ケーブル RG58A/U の先端にヘッダピンをハンダ付けしただけです。
プローブの先端でキャリブレーションできるように、Short と Load のプラグも作りました。
プローブの製作などについて、以下のサイトを参考にさせていただきました。ありがとうございます。
参考リンク
NanoVNAで水晶発振回路のチェック
nobuyuki-lab.com
ネットワークアナライザ Nano-VNA については過去記事も参照ください。
関連記事
ネットワークアナライザ NanoVNA-H4 を使ってみる
meyon.gonna.jp
水晶発振子の発振周波数と発振波形
トランスミッタ IC QN8027 につながれた水晶発振子 24.000MHz の両端に NanoVNA のプローブをあてると、こんな感じ。DISPLAY/FORMAT/PHASE と DISPLAY/FORMAT/SMITH でトレースしています。
発振周波数はどこ?ここ? 位相が 0° でインピーダンスが ∞Ω のところ、ですか?
スイッチを入れて発振開始。オシロスコープで発振波形をみると、きっちり 24.0MHz です。きれいな波形ですね。
NanoVNA をスペクトラムアナライザとしてみました。DISPLAY/FORMAT/LOGMAG、DISPLAY/CHANNEL/CH1 THROUGH と設定し、CH1 で測定します。
発振周波数 24.00MHz をトレースできました。
トランスミッタ IC QN8027 の出力
QN8027 の出力波形です。
複雑な波形がゴーストのようにでていますが、ディスプレイによって見えたり見えなかったりします。周波数が 86.9MHz と表示されているのは波形が複雑だから?それともプローブの容量のせいで周波数が下がってる?
FFT モードで見ると基本波がしっかり出ていて、悪さしているようなものはなさそうな感じですけど。こんどは周波数が 89.3MHz になっているんで、オシロスコープの誤差なんでしょうかね。
ポータブルラジオでは 88.0MHz で受信できてますので、送信周波数は変化していないようです。
NanoVNA でみるとしっかり 88.00MHz がとらえられます。NanoVNA 君はなかなかな奴です。
ちなみに、NanoVNA の測定スパンが 1MHz でステップ数は 101 ですから、分解能は 0.01MHz です。
RF 増幅部の出力
RF 増幅部のトランジスタ SS9018 のコレクタ電圧波形です。
半波しか出力されていないので B 級増幅なのでしょうか。FM 波ですので問題ないのですが、高調波が出るはずです。
FFT モードでみると、やっぱり第 2 次高調波が出ているようですね。第 3 次高調波もあるようですが、レベルが低いので影響なさそうです。
QN8027 の出力が -44dB (図 15)、RF 増幅器の出力が -29dB (図 18) とするとその差は 15dB。電圧増幅率は 5.6 倍です。電圧で見ると、QN8027 の出力電圧が 140mV (図 13)、RF増幅器の出力電圧が 900mV (図 16)。電圧増幅率は 6.4倍。
だいたいそのあたりなのでしょうか。
キャリブレーションしてませんが、第 2 次高調波 176MHz をみてみました。かなり強く出てますね。
第 3 次高調波 264MHz は観測できませんでした。
最後に。
コレクタ側に LC の同調回路がありますので、共振周波数を測ってみたら 71MHz でした。ということは、送信周波数 88MHz よりも 76MHz のほうが出力が大きくなる?かも?
後記
今回は FM トランスミッタキット FW-8027M を組み立て、その仕組みを探ってみました。
各部を詳細に調べたわけではありませんが、それぞれがどんなふうに動いているのかおおまかな感じはつかめたと思います。
DSP の FM ラジオと合わせたらトランシーバになるなぁ、とか考えていて思い出したのですが、そういえば昔々、真空管式の AM ワイヤレスマイクってのを作ったことがあります。中波ラジオ帯のトランスミッタで 500m あまり離れた友達の家のラジオで …… まぁ、あのぅ、昔の話です。
それと今回はオシロスコープで I2C 信号をトリガしデコードすること、NanoVNA で高周波回路を測定することもできました。どちらももっと奥が深いんでしょうね。いろいろ使っていきたいと思います。
投稿者の人気記事





-
meyon230
さんが
2024/07/07
に
編集
をしました。
(メッセージ: 初版)
ログインしてコメントを投稿する