制作の背景
自宅でリフローをしたいということで「なるべく簡単に」ホットプレートを改造したリフロー装置を作ってみました。
用意するもの
- 超低温/超高温計測デジタル温度計・キット すでに終売していますが、取扱説明書は見られます。
- ホットプレート EHP-M282 安くて平べったくてフタが付いているので、ホットプレートリフロー装置には最適だと思います。
制作
まずは超低温/超高温計測デジタル温度計・キットを組み立てます。
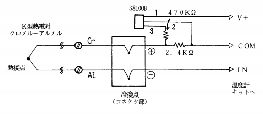
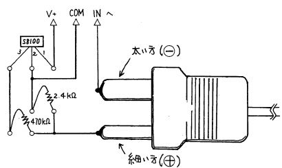
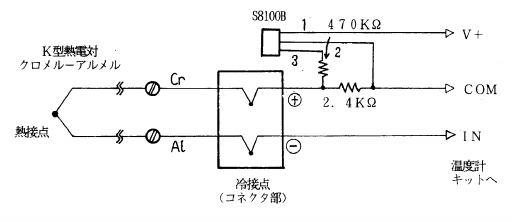
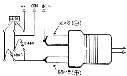
熱電対の接続部分は小基板を追加しました。
続いて、ホットプレートを分解し、下記の2点の改造を行います。
完成
基板にペースト半田を塗布し、部品を載せ、ホットプレートに置いたらホットプレートの電源を入れます。
温度を見つつ、半田が溶けたら電源をOFFすればOKです。
投稿者の人気記事





-
yone2
さんが
2021/02/19
に
編集
をしました。
(メッセージ: 初版)
-
yone2
さんが
2021/02/28
に
編集
をしました。
ログインしてコメントを投稿する